Foi descoberto um registro de patente da Yamaha sobre um projeto que utiliza os gases do escapamento para melhorar a dirigibilidade e o desempenho da motocicleta.

As patentes têm como base uma Yamaha MT-07. São duas patentes distintas: uma que visa demonstrar como o escapamento pode ser usado para reduzir empinadas e melhorar a aceleração; e o outro que utiliza a mesma lógica, mas com o objetivo de usar o fluxo de ar do escapamento para melhorar a estabilidade em curvas.
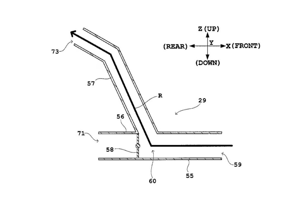
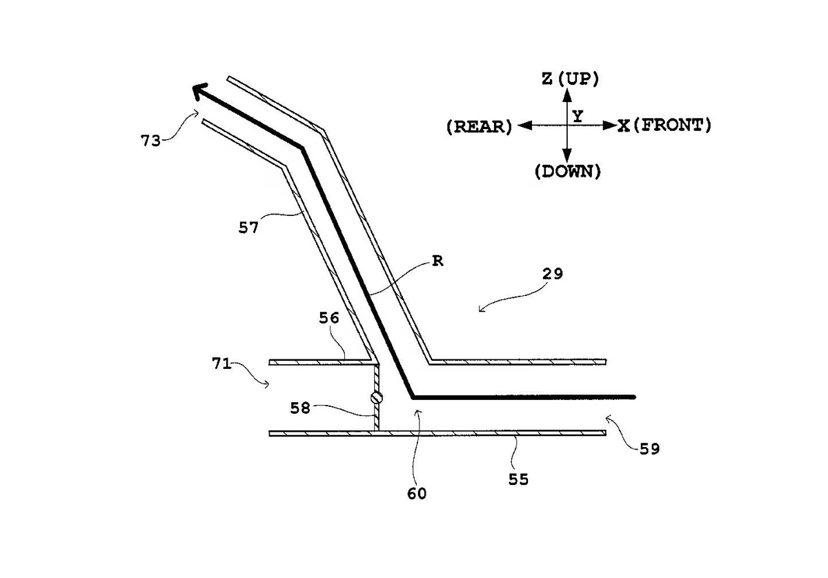
Ambos os sistemas utilizam um conjunto simples de válvulas tipo borboleta dentro do escapamento para direcionar o fluxo. Na versão anti-empinagem, o tubo de escape é dividido em dois: um tubo maior, posicionado mais abaixo e um tubo menor, montado mais acima e inclinado para cima.
O tubo maior, de baixo, tem o objetivo de minimizar a restrição do fluxo e maximizar a potência do motor. O tubo menor, de cima, visa auxiliar na tração em torno da roda traseira, empurrando a dianteira em direção ao solo. Quando a aceleração é limitada pelo risco de empinar esse seria o utlizado já que não é possível utilizar toda a potência do motor
Assim que a velocidade aumenta e mais potência pode ser transferida para o solo sem que a moto empine, a válvula alterna para o escapamento de maior diâmetro e de fluxo livre. As máquinas de MotoGP com motores V4 já fazem algo parecido dividindo a saída dos gases em dois escapamentos distintos, um por cima, outro por baixo.

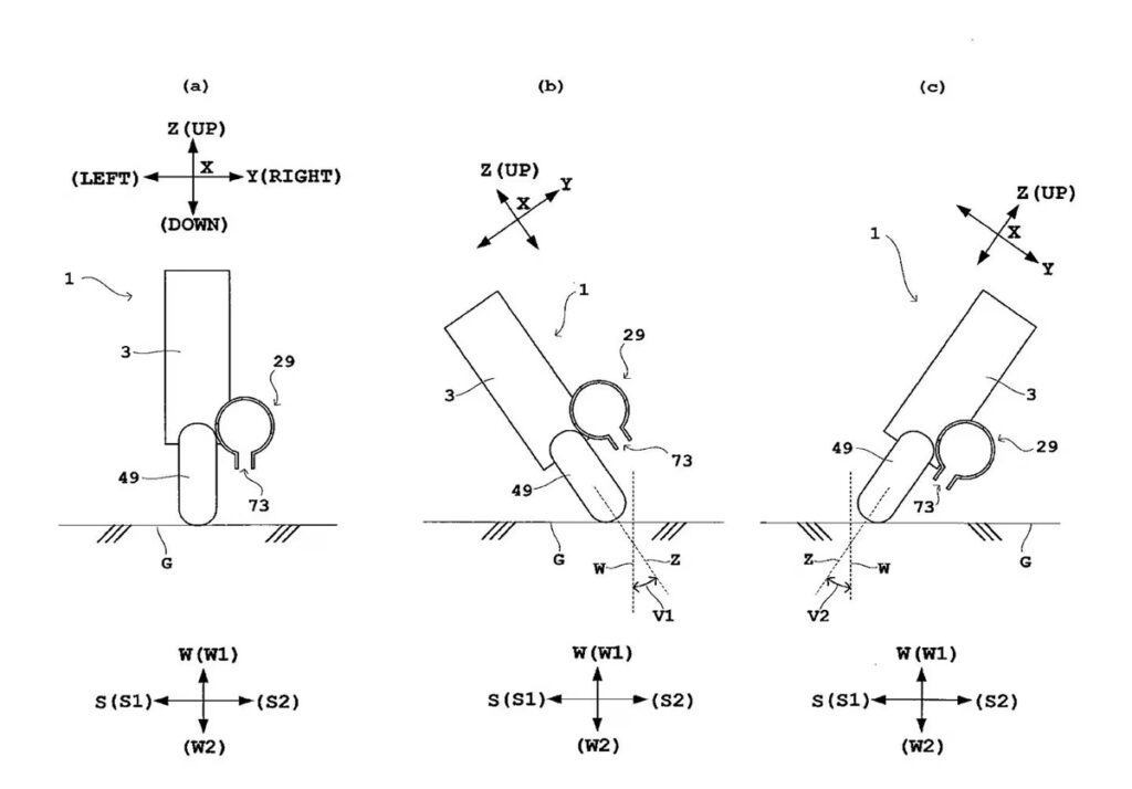
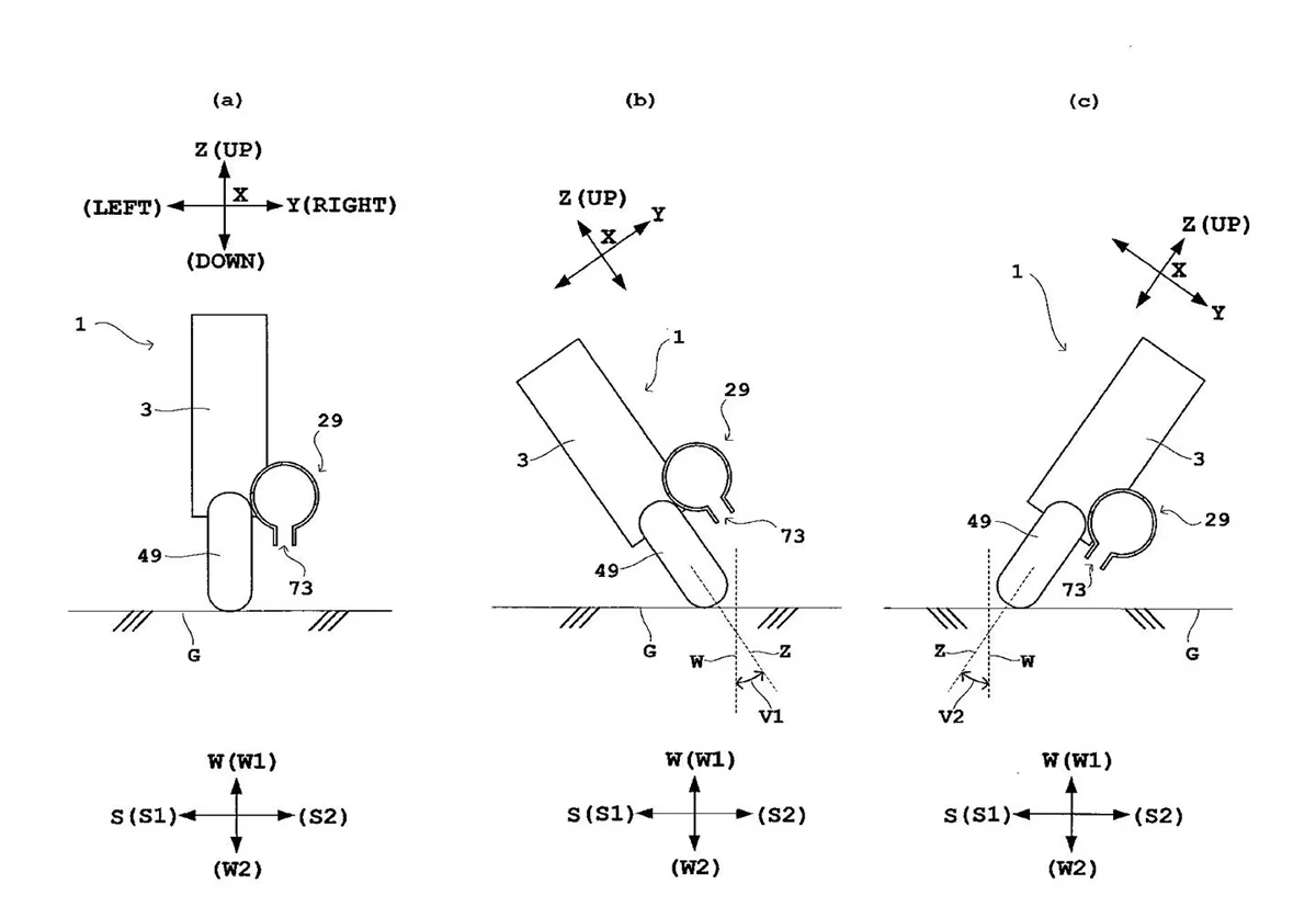
A segunda versão do sistema é semelhante em conceito, mas em vez de direcionar os gases para uma saída de escape alta e anti-empinamento, ela os empurra através de um tubo estreito voltado diretamente para baixo, que seria utilizado quando a moto está totalmente inclinada e incapaz de usar toda a potência do motor.
Nesse caso, graças ao ângulo de inclinação, a saída para baixo visa empurrar a moto para o centro da curva. Uma segunda versão, mais complexa, adiciona duas saídas angulares que permitem que o gás seja direcionado para a esquerda ou para a direita, proporcionando mais impulso nas curvas mesmo que o ângulo de inclinação não seja tão extremo.
Embora existam duas patentes separadas para os escapamentos anti-empinamento e de assistência em curvas, as patentes também incluem imagens dos dois sistemas em um único design. O objetivo final seria combinar os benefícios de ambos em um único sistema de múltiplas saídas.
É claramente algo mais adequado para motos esportivas de alto desempenho, com foco especial no uso em pista. Os ganhos podem ser mínimos, mas em corridas onde cada vantagem conta, podem ser decisivos. E, com as futuras regras da MotoGP restringindo cada vez mais a aerodinâmica, usar o fluxo dos gases pode ser uma maneira de contornar a situação.





